- VEŽIMĖLIAI
-
VARTŲ FURNITŪRA
- SLENKAMŲ VARTŲ FURNITŪROS KOMPLEKTAI
- PAKABINAMŲ VARTŲ FURNITŪRA
-
STUMDOMŲ VARTŲ VEŽIMĖLIAI IR PRIEDAI
- Fiksuoti vežimėliai be aukščio reguliavimo
- Fiksuoti vežimėliai su aukščio reguliavimu
- Svyruojantis vežimėlis be aukščio reguliavimo
- Svyruojantis vežimėlis su aukščio reguliavimu
- Gaudyklės
- Priekiniai ratukai vartams
- Užraktai vartams ir varteliams
- Krumpliastiebiai
- Kreipiantieji prilaikantys ratukai su kronšteinu
- Kreipiantieji prilaikantys ratukai su varžtu
- Plastikiniai ratukai (kreipiantieji)
- Ratukai vartų vežimėliams
- Aklės
- PROFILIAI VARTAMS
- VARTŲ AUTOMATIKA STUMDOMIEMS VARTAMS
- BĖGINIŲ VARTŲ FURNITŪRA
- ATVERIAMŲ VARTŲ AUTOMATIKA
- CINKUOTI PROFILIAI VARTAMS
- RATUKAI
- PASTOLIAI
- KOJELĖS
- AKLĖS, INTARPAI
- RATUKAI "NO CRUSH"
- GUOLIAI
Svyruojantis vežimėlis su aukščio reguliavimu
- Fiksuoti vežimėliai be aukščio reguliavimo
- Fiksuoti vežimėliai su aukščio reguliavimu
- Svyruojantis vežimėlis be aukščio reguliavimo
- Svyruojantis vežimėlis su aukščio reguliavimu
- Gaudyklės
- Priekiniai ratukai vartams
- Užraktai vartams ir varteliams
- Krumpliastiebiai
- Kreipiantieji prilaikantys ratukai su kronšteinu
- Kreipiantieji prilaikantys ratukai su varžtu
- Plastikiniai ratukai (kreipiantieji)
- Ratukai vartų vežimėliams
- Aklės
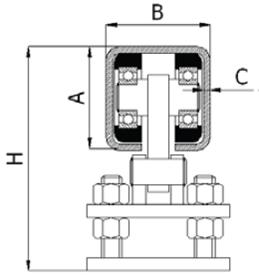
Svyruojantis vežimėlis su aukščio reguliavimu 70x70 mm profiliui (700 kg)
Svyruojantis vežimėlis slenkamiems vartams, su aukščio reguliavimu.
Pagrindiniai ratukai - metaliniai su guoliais, pagalbiniai - plastikinis su guoliu.
Pagaminta Lenkijoje.
TECHNINĖS CHARAKTERISTIKOS:
Pagrindiniai ratukai - metaliniai su guoliais, pagalbiniai - plastikinis su guoliu.
Pagaminta Lenkijoje.
TECHNINĖS CHARAKTERISTIKOS:
| Ratukų su guoliai tipas | Aukštis H, mm | A, mm | B, mm | C, mm | Spaudimo jėga veikianti vežimėlį, kg |
| Metaliniai | 151-174 | 70 | 70 | 4 | 700 |
Įsigykite šią prekę dabar
67.97 €
.jpg)

.jpg)











PV